GUI with RTE

Ic Haus Tw29. Neubau ICHaus BA35, 55294 Bodenheim EPT GmbH in the interface, sensor and detector interface category 26-BIT ENCODER PROCESSOR WITH INTERPOLATION AND BiSS INTERFACE

iCTW29 EVAL TW29_4D Evaluation Board iCTW29 with MCU (for BiSS)
iCTW29 EVAL TW29_4D Evaluation Board iCTW29 with MCU (for BiSS) from www.ichaus.de

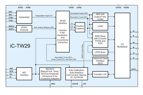
The iC-TW29 is predestined for the evaluation of tunnel magnetoresistive (TMR) sensors which provide high--level sin/cos signals with one signal cycle per revolution of the magnet The integration of a 14-bit interpolator with a 26-bit gearbox provides a complete solution for arbitrary resolution single and multiturn encoders

iCTW29 EVAL TW29_4D Evaluation Board iCTW29 with MCU (for BiSS)

Reprogramming the iC-TW29 over BiSS is still possible if JP8 in installed to disable the on. iC-Haus's iC-TW29 QFN32-5x5 is a sensor and detector interface 3.6v 85ma spi interface 32-pin qfn ep General requests +49 (0) 61 35 / 9292-0 [email protected] Information

iCHaus/ICNQI ICTW2 ICTW28 ICTW29 ICTW8全系列现货阿里巴巴. General requests +49 (0) 61 35 / 9292-0 [email protected] Information Related products would be the iC-TW29 evaluation boards TW29_1D and TW29_3D

10pcsiCHausICNQIICTW2ICTW28ICTW29ICTW8.png. Figure 10: TW29_4D with BiSS Connection With JP8 removed, the on-board MCU services the external I2C interface (J6) and uses the iC-TW29 SPI interface (J4 must not be connected) IC-TW29 Manufacturer iC-Haus GmbH MFR.Part # IC-TW29 JLCPCB Part # C2927699 Package QFN-32-EP(5x5) Description iC-Haus GmbH IC-TW29 CAD Model PCB Footprint or Symbol ECCN-Source JLCPCB Assembly Type SMT Assembly